предыдущая главасодержаниеследующая глава

ПЫЛЬЦЕУЛОВИТЕЛЬ СЛОЖНЫЙ

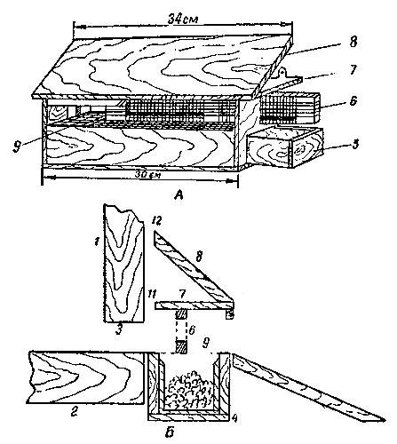
Это ящик, подставляемый или подвешиваемый к передней стенке улья против летка. Передней и задней стенок этот ящик не имеет; через два отверстия в боковой стенке в него вдвигается рамка с натянутой на ней двойной металлической сеткой, а ниже рамки - ящичек, в который попадает приносимая пчелами пыльца. Пыльцеуловитель прикрепляется к передней стенке улья так, что пчелы могут войти в улей только через рамку с двойной сеткой; они задевают сетки своими обножками и теряют их. Наиболее подходит для этого сетка с ячеями величиной 4,5×4,5 мм и расстоянием между ее двумя слоями в 4,5-5 мм. Упавшие обножки проваливаются сквозь горизонтальную решетку и попадают в ящик для пыльцы. Чтобы пчелы, выходящие из улья, не сталкивались с входящими через сетку пыльцеуловителя, боковые стенки и потолок пыльцеуловителя сделаны так, что они не доходят до стенки улья на 1 см; через эти отверстия пчелы могут выходить из улья вверх и в стороны.

Пыльцеуловитель. А - общий вид спереди; Б - поперечный разрез, показывающий положение пыльцй-уловителя на передней стенке улья: 1 - передняя стенка улья; 2 - дно улья; 3 - леток; 4 - пыльцеуловитель; 5 - ящик для пыльцы; 6 - рамка с двойной сеткой; 7 - потолок в пыльцеуловителе; 8 - крыша; 11 - горизонтальная сетка; 10 - прилетная доска; 11 и 12 - верхний проход для вылетающих пчел
Пыльцеуловитель. А - общий вид спереди; Б - поперечный разрез, показывающий положение пыльцй-уловителя на передней стенке улья: 1 - передняя стенка улья; 2 - дно улья; 3 - леток; 4 - пыльцеуловитель; 5 - ящик для пыльцы; 6 - рамка с двойной сеткой; 7 - потолок в пыльцеуловителе; 8 - крыша; 11 - горизонтальная сетка; 10 - прилетная доска; 11 и 12 - верхний проход для вылетающих пчел

Чтобы приучить пчел входить в улей через пыльцеуловитель, его на несколько дней подвешивают к улью, не вставляя рамки с двойной сеткой; а когда пчелы привыкнут ходить через него, ставят на место и рамку с сеткой. При проходе через сетку пыльцеуловителя пчелы, несущие маленькие обножки, не теряют их; кроме того, некоторые пчелы быстро приспосабливаются проникать в улей через проходы у верхнего и боковых краев пыльцеуловителя. Благодаря этому пчелы вносят в улей часть приносимой пыльцы. Практика показала, что применение пыльцеуловителя побуждает пчел более энергично собирать пыльцу. Поэтому хотя в пыльцеуловитель и попадает около 60Ч80% пыльцы, в улей пчелы приносят достаточное количество ее для выкармливания расплода и прочих потребностей семьи. Сильные пчелиные семьи при наличии большого количества цветущих пыльценосов ежедневно приносят в пыльцеуловитель до 150 г пыльцы.

предыдущая главасодержаниеследующая глава

















Яндекс.Метрика
Рейтинг@Mail.ru

Хаустова Наталья разработка оформления

При копировании материалов проекта обязательно ставить активную ссылку на страницу источник:

http://paseka.su/ 'Paseka.su: Всё о пчеловодстве'



Поможем с курсовой, контрольной, дипломной
1500+ квалифицированных специалистов готовы вам помочь